Чипсет i815 Step-B и системная плата D815EPFV от Intel


Тема "нового" Pentium III (Tualatin) и модернизированных чипсетов для него муссируется уже довольно давно. VIA Technologies и SiS даже анонсировали новые (по крайней мере номинально, по названию) чипсеты, предназначенные для работы с CPU этого типа. Intel оказалась более скромной, и ограничилась анонсом новой ревизии хорошо нам всем знакомого i815. Наше тестирование показало, что в данном случае "скромность" ведущего производителя чипсетов для платформы Socket 370 оказалась вполне обоснованной. Но об этом позже, а сейчас мы перейдем к рассмотрению основного героя этой статьи — i815 "B-step", т.е. новой ревизии чипсета, предназначенной для работы с Pentium III "Tualatin". Представлять этот чипсет будет (тоже несложно догадаться :) плата от Intel — D815EPFV Desktop Board.

Чипсет i815 "B-step"

Начнем с основного: никакими кардинальными изменениями по отношению к своей предыдущей инкарнации, новый степпинг чипсета не отличается. Что, в общем-то, вполне закономерно, и это можно было понять еще до выхода продукта в свет т.к. речь с самого начала шла о "степпинге", а не о каком-нибудь "i816", к примеру. Тем, кто чувствуют в себе достаточно сил (и желания) разбираться в особенностях регистров, вольтажа, и прочих тонкостях, настоятельно рекомендуем прочесть следующий параграф, который чрезвычайно подробно описывает все отличия нового степпинга i815 (а заодно и самого процессора, для которого этот чипсет предназначен). Те же, кого столь тонкие подробности не интересуют, могут пролистать пару экранов вниз, после чего попадут на две заключительные фразы "доклада", в которых и сосредоточен весь его смысл "с точки зрения обычного пользователя" :)

Логическое окружение Tualatin

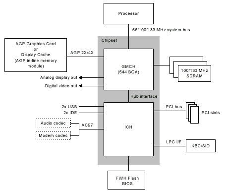
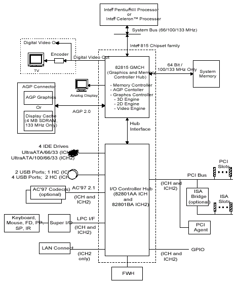
Все существующие разновидности наборов системной логики (логическое окружение, чипсет) серии i82815хх производства Intel получаются в основном путем комбинирования существующих основных компонентов данной серии. В системах, оптимизированных для использования процессоров, выполненных по 013mkm технологии и основанных на модернизированном ядре Pentium III (так называемая 0.13-микронная серия, Tualatin), на данный момент применяются две модификации серии i82815xx — логики i82815 и i82815E. Данные чипсеты, применяемые для использования в системах с универсальным процессорным разъемом ZIF Socket 370 (For Use with Universal Socket 370), как и их "обычные" аналоги, состоят из трех компонент: северного моста — концентратора контролеров графического ядра и памяти (GMCH — Graphics and Memory Controller Hub), южного моста — концентратора контроллеров ввода/вывода (ICH — I/O Controller Hub) и хаба управления инфраструктурой системы (FWH — FirmWare Hub).

Новые наборы i82815 и i82815E, предназначенные для установки 0.13-микронного процессора (For Use with Universal Socket 370), отличаются между собой исключительно концентраторами периферийных компонентов (ICH): логика i82815 использует "первую" версию (ICH, FW82801AA), а набор i82815E — вторую (ICH2, FW82801BA). В остальном чипсеты абсолютно одинаковы — оба используют специальную версию (степпинг B0) основного хаба (FW82815-B0). Для полного представления картины рассмотрим основные особенности компонент данных логик с учетом модернизации конечной универсальной системы:

  • Процессорная/системная шины оптимизированы для "сегодняшних" процессоров, выполненных по 0.18-микронному техпроцессу и использующих упаковку FC-PGA: Celeron версии 533А и выше, работающих на частоте синхронизации системного сигнала 66MHz; PentiumIII, функционирующих на опорной частоте 133MHz, и новых процессоров, выполненных по 0.13-микронному техпроцессу, использующих упаковку FC-PGA2 и синхронизирующихся 133MHz сигналом BCLK.

  • Системная шина оптимизирована для 32bit адресации. Схемы приемников и передатчиков синхронных сигналов используют исключительно шину AGTL/AGTL+ (структура с открытым ненагруженным стоком — Open-drain Structure, — требующая оконечной нагрузки — терминатора, подтягивающего линию к высокому напряжению VTT) с уровнем напряжения 1.25/1.5 V соответственно, характеризующуюся лучшей по сравнению с GTL+ помехозащищенностью и меньшим уровнем шума, определяемым меньшей длительностью коммутации сигнала. Входные схемы приемников являются дифференциальными, в связи с чем сигнал воспринимается относительно опорного напряжения на входе (VREF), уровень которого составляет 2/3 от значения напряжения на терминаторе (VREF=2/3*VTT).

  • Подсистема памяти рассчитана на применение исключительно синхронного ДОЗУ (SDRAM), использует 100/133 MHz синхросигнал, поддерживает максимум шесть банков памяти (шесть линий одинарной нагрузки или три линии двойной) и максимальный объем до 512MB. Контроллер памяти поддерживает симметричную и асимметричную адресацию, рассчитан на применение х8 и х16 микросхем памяти, поддерживает CBR (CAS-before-RAS) механизм регенерации. Модули памяти с контролем коррекции ошибки (ECC SDRAM DIMM) или с микросхемами-регистрами (Registered SDRAM DIMM) данными системами не поддерживаются.

  • Интерфейс ускоренного графического порта (AGP — Accelerated Graphics Port) использует 1.5/3.3 V сигнал, поддерживает спецификацию AGP 2.0 и работает в режимах 1Х/2Х/4Х. Чипсеты не поддерживают протокол прямой пересылки данных минуя системное ОЗУ — режим работы Fast Write, запрещенный на аппаратном уровне в командном регистре (AGPCMD) и в регистре состояния (AGPSTAT) управления интерфейсом AGP основного хаба (GMCH). Семантический трафик AGP к памяти не использует механизм слежения за системной шиной, поэтому не является когерентным относительно процессорного кэша.

  • Встроенный графический контроллер i752 поддерживает довольно значительную часть 3D-функций, содержит 230MHz RAMDAC, и адресует максимум до 4MB дисплейного кэша, интерфейс которого мультиплексирован с шиной AGP. Порт AGP, кроме как интерфейс установки отдельного графического адаптера, применяется в качестве наращивания объема дисплейного кэша (Z-буфер) — 32bit 133MHz интерфейс SDRAM, расширяющийся при помощи специализированного модуля AIMM (AGP In-line Memory Module) конфигурации 2х 1Мх16 или 1х 2Мх32, вставляющегося в слот AGP.

  • Хаб контроллеров периферийных компонентов (ICH) поддерживает: интерфейс PCI 2.2 (максимум до 6 пар запросов/разрешений), 2 канала (по два устройство на канал) спецификации Ultra ATA/66 (хаб FW82801AA) или Ultra ATA/100 (концентратор FW82801BA) Bus Master IDE контроллера, 2 порта USB для ICH и 4 порта для ICH2 спецификации 1.1, встроенный расширенный контроллер прерываний I/O APIC (15 прерываний в режиме 8259 и 24 прерывания в расширенном режиме), контроллер управления системной шиной (SMBus — System Management Bus), интерфейс LPC, интерфейс кодека AC97, встроенный в ICH2 LAN-контроллер (в хабе ICH контроллер сетевого интерфейса отсутствует).

Как уже говорилось, данные версии логических наборов разработаны для конечных систем, рассчитанных на поддержку процессоров Celeron/PentiumIII, выполненных по 0.18/0.13-микронному техпроцессу, использующих упаковку FC-PGA и FC-PGA2 с интегрированным рассеивателем тепла (IHS — Integrated Heat Spreader), и не поддерживают процессоры PentiumII. Это определяется как полным переходом на шину AGTL/AGTL+, так и поддерживаемым системой диапазоном напряжением питания ядра (VCCCORE) — момент, обусловленный использованием новой версии регулятора напряжения питания (VR — Voltage Regulator) или модуля регулировки напряжения (VRM — Voltage Regulation Module) версии 8.5.

Рассмотрим основные моменты построения системы, поддерживающей как старые (0.18-микронные), так и новые (0.13-микронные) процессоры. Этот момент чрезвычайно важен, чтобы понять отличительные особенности нового процессора и необходимые схемотехнические модификации в цепях управляющей логики. Изменениям назначения сигналов подверглись выводы процессора AF36, AG1, AJ3, и AK22, а сигналы PICCLK, PWRGOOD и VTT в новом процессоре изменили уровень напряжения, кроме чего добавился сигнал VTTPWRGD, который не использовался ранее (в процессорах 0.18). На некоторые из вышеперечисленных выводов поставили схемы переключателей на полевых транзисторах (FET switches), чтобы контролировать состояние линии в зависимости от типа установленного процессора — состояние устанавливается исходя из фазы идентификации. Общее количество (см. для наглядности: таблица1, таблица2, таблица3, таблица4) схемотехнических модификаций для нового процессора довольно внушительно.

Так, например, линия входного сигнала синхронизации схем APIC (PIСCLK) нового процессора требует уровня напряжения 2.0V в отличие от старых систем, где применялись 2.5V. Схемы управления сигналом PWRGOOD теперь имеют уровень 1.8V, в отличие от ранних 2.5V, кроме чего в схему добавлен делитель, обеспечивающий уровень 2.1V, который удовлетворяет требованиям всей линейки процессоров 0.18/0.13. Уровень напряжения на терминаторах (VTT), к которому подтягиваются сигналы шины AGTL/AGTL+, в системах с 0.13-микронным процессором понизился до 1.25V, в противовес использующимся ранее 1.5V — схема управления данными линиями в универсальной системе также реализована на FET-переключателях. Уровень опорного напряжения GTLREF, составляющий 2/3 от VTT (грубо 0.7*VTT), также изменился, в связи с чем схемы управления этим сигналом для 0.18/0.13 процессоров требуют наличия отдельного резистора, разделяющего источники для разных процессоров. Проще говоря, протоколы AGTL и AGTL+ не совместимы, поскольку используют различные уровни переключения сигнала — соответственно, новые 0.13-микронные процессоры не могут функционировать в системах, базирующихся на стандартном протоколе AGTL+.

Конфигурирование не-VTT линий (не AGTL/AGTL+ уровней) для 0.13-микронных процессоров происходит по состоянию сигнала VTTPWRGD, который в 0.18-микронных процессорах соединен с линией VSS (постоянно низкий уровень). Схема источника сигнала VTTPWRGD и одноименного вывода процессора имеют 1kOhm развязку.

Опорный сигнал уровня VCMOS в системах с 0.18-микронными процессорами задается тем же источником, что и напряжение на терминаторах (непосредственно процессором). Однако в новых 0.13-микронных процессорах данный уровень не генерируется, поэтому в универсальной системе должен присутствовать отдельный формирователь VCMOS и назначение сигнала вывода нового процессора AK22, отвечающего за установку уровня GTL_REF в "старых", изменено на VCMOS_REF. Для обеспечения совместимости платформы со 0.18/0.13-микронными процессорами интерфейсная схема соединения вывода процессоров AK22 с логикой имеет параллельную RC-цепь.

Поскольку универсальная материнская плата под Socket 370 использует новую версию логического набора и предназначена для совместимости 0.18/0.13-микронных процессоров, ее дизайн рассчитан на системы, использующие GMCH степинга В0, и делает несовместимым 0.13-микронные процессоры при использовании более ранних ревизий хаба GMCH. Возможный выход из строя новых процессоров упреждает специальная цепь защиты, проверяющая правомочность используемой аппаратуры — вывод процессора AJ3 при помощи резистора 0Ohm нагружается на землю. В противовес старым процессорам, где данный вывод был заведен на землю, в новых процессорах AJ3 отвечает за аппаратный сброс (сигнал RESET#): если в базовую систему с ревизией GMCH ранее B0 установить процессор, выполненный по 0.13-микронному техпроцессу, то сработает "защита" — на схему процессора будет постоянно подаваться сигнал сброса, в то время как использование в данной системе старых процессоров будет абсолютно беспроблемным. Однако, если в системе (не важно с какой ревизией чипсета) линия AJ3 не нагружается (указываемый резистор не используется), то при прочих соблюденных условиях (корректность питающего протокола) новый процессор должен пройти фазу определения. Отсюда следует, что данная цепь реализована специально для избежания возможной несовместимости ревизии хаба, однако конечные производители материнских плат могут ее не реализовывать. Также это указывает на то, что использование процессора, выполненного по 0.13-микронному техпроцессу, возможно на любом чипсете, обеспечивающем поддержку требуемых AGTL-уровней.

Для корректного распознавания системой установленного процессора его надо идентифицировать. Роль своего рода идентификационного "флага" выполняет вывод AF36, который у старых процессоров закорочен на землю, а у новых не соединен. Схема цепи данного вывода в универсальной системе использует TTL-совместимые уровни и схематически "разветвляется" на две линии TUAL5/TUAL5# по состоянию которых однозначно определяется присутствующий в сокете процессор: если сигнал TUAL5 подтянут до 5V, а TUAL5# до низкого уровня напряжения, то в системе установлен 0.13-микронный процессор; наоборот — 0.18-микронный. Поскольку рассматриваемые процессоры используют разный уровень напряжения VTT, то для решения этого вопроса ввели схему на FET-переключателе, коммутирующего источник между соответствующими уровнями 1.25/1.5 V. Вывод AG1, занимающийся определением выставления текущего уровня AGTL/AGTL+, управляется состоянием линии TUAL5 после идентификации процессора: соответственно если данная линия находится в высоком состоянии, то источник генерирует 1.25V, в противном случае — 1.5V.

Идентификация процессора на уровне хаба GMCH происходит по состоянию линии SMAA12, зависящей от уровня сигнала TUAL5, а в конечном итоге от декодирования состояния сигнала на выводе AF36: если вывод AF36 находится в высокоимпедансном состоянии (HiZ), то по высокому уровню сигнала CPUPRES#, управляющего логикой PWRGOOD, система оповещается о присутствии 0.13-процессора; если в низком состоянии, то по высокому уровню сигнала CPUPRES# определяется 0.18-процессор; по низкому состоянию сигнала CPUPRES# система определяет отсутствие процессора в сокете. Сигнал CPUPRES# считывается управляющей логикой совместно с комбинацией идентификатора напряжения питания VID[3:0] и сообщает о присутствии в сокете процессора.

В отличие от 0.18-микронных процессоров FC-PGA, имеющих 4bit код идентификатора напряжения VID[3:0], 0.13-микронный содержит пятый "отличительный" бит — сигнал VID25mV (аналог VID4 в процессорах, исполненных в S.E.C.C./S.E.P.P), соответствующий выводу AK36, который в старых процессорах заведен на VSS (50mV инкремент). Поэтому теперь полный идентификатор напряжения питания у нового процессора имеет сигнатуру VID[25mV, 3:0]. С позиции VCCCORE высокий уровень сигнала VID25mV указывает на то, что напряжение ядра инкрементируется с шагом 0.025V. Без флага VID25mV (низкий уровень) бинарные комбинации VRM 8.5 полностью аналогичны комбинациям вольт-регулятора VRM 8.4 — момент, необходимый для рассматриваемой универсальной платформы и обусловленный совместимостью с кодом напряжения для 0.18-микронный процессоров.

Просуммировав все вышеизложенное, можно сделать ряд выводов. Новый степпинг чипсета выпущен именно с целью поддержки корректной работы с новыми 0,13-микронными процессорами. Больше ничем примечательным с технической точки зрения и с точки зрения поддерживаемых спецификаций, i815 Step-B от предыдущей ревизии не отличается. На системных платах, выполненных на ранних ревизиях чипсета i815 в полном соответствии со спецификацией, процессоры Tualatin работать не будут. Но вот на платах, основанных, например на чипсете 440BX, сигнал сброса на процессор подаваться не будет. Вот отсюда и появилось заблуждение о том, что новые 0.13микрон процессоры от Intel будут беспроблемно функционировать на этих платах. Но не поленитесь прочесть различия в спецификациях еще раз — VRM 8.5 обеспечивает шаг 0.005 В, а серия VRM 8.4, VRM 8.3 и VRM 8.2 — 0.05В. Поскольку ядро Tualatin питается напряжением 1.425 В, то такой уровень напряжения может обеспечить только VRM 8.5. Так что количество времени, в течение которого вы сможете насладиться работой 0.13 микрон процессора в Вашей старой системной плате, зависит только от чистого везения, и вполне может исчисляться всего несколькими минутами или часами. Так что такой риск вполне оправдан только в том случае, если цель эксперимента состоит в том, чтобы снять скриншот на предельно возможной частоте процессора, и, наконец, переплюнуть этих зарвавшихся оверклокеров из страны восходящего солнца.

Плата Intel D815EPFV

Неделя высокой моды в Париже. Все присутствующие многозначительно водят носами вслед манекенщицам. Дефиле известного всему миру мэтра. Он — академик института Высокой Моды. И лишь один из присутствующих подает возглас — "А король то голый!". Именно такое сравнение хотелось бы привести в применении к плате от законодателя мод в мире персональных компьютеров — компании Intel.

Да, новый (относительно) чипсет позволяет говорить о том, что плата достойна обзора — но помимо нового набора микросхем должно быть и что-то еще, что привлекло бы к себе внимание. Ведь платье из новой ткани, сшитое никому неизвестной портнихой из сельского ателье, но не имеющее стройной концепции не произведет фурора на подиумах. Каким бы новым не было содержание, функциональность и продуманный дизайн, как мне кажется, должны быть как минимум адекватны. С точки зрения рядового домашнего или офисного пользователя, которому главное, чтобы без проблем и сразу работало — у платы от Intel все отлично. А вот если вы считаете себя продвинутым пользователем, т.е. у вас есть жгучее желание что-нибудь разогнать, например, то плата D815EPFV не для вас. В общем, как всегда, выбор остается за вами и выбирать плату нужно именно под свои задачи. Теперь же более подробно о самой плате.

Спецификация

  • Процессор: FCPGA Socket 370 Intel Pentium III с частотой шины 100/133 МГц и Intel Celeron с частотой шины 66/100 МГц
  • Чипсет: Intel 815EP (Intel 82815EP Memory Controller Hub (MCH), Intel 82801BA Enhanced I/O Controller Hub 2 (ICH2), Intel 82802AB Firmware Hub (FWH))
  • Системная память:
    • три 168-контактных разъема DIMM, PC100/PC133 SDRAM
    • Максимальный объем памяти — 512 Мбайт, ECC не поддерживается
  • Слот AGP с поддержкой режима 4x
  • Слоты расширения:
    • 3 32-битных слотов PCI 2.2
    • 1 слот CNR (Communication and Networking Riser) — опционально
  • Порты ввода-вывода:
    • FDD, два последовательных и один параллельный порты, порты для PS/2 мыши и клавиатуры
    • Четыре встроенных порта USB
    • Интегрированный IDE контроллер (2 канала IDE, поддерживающие протоколы ATA/33/66/100 (с поддержкой до 4 ATAPI-устройств)
  • Интегрированный сетевой контроллер: Intel Pro/100 адаптер, 10/100 Мбит
  • Интегрированный звук: AC'97, микросхема кодека — Analog Devices AD1885
  • BIOS:
    • 4-х мегабитный Flash EEPROM
    • Phoenix BIOS с поддержкой Enhanced ACPI, DMI, Green, PnP Features и Trend Chip Away Virus
  • Разное:
    • STR (Suspend to RAM)
    • Аппаратный мониторинг
    • Пробуждение от модема, мыши, клавиатуры, сети, таймера и USB
  • Размер: MicroATX форм-фактор, 244x240 мм

Плата — еще один представитель продукции формата MicroATX, который намного лучше вписывается в компьютеры, производимые компаниями-сборщиками, нежели для реализации этой продукции на retail-рынке. Уменьшенное число слотов расширения и высокая интеграция — сетевой адаптер, звук, а варианте платы с индексом EVF и видео, наводит на мысль об офисном компьютере или втором/третьем домашнем компьютере для работы с документами и/или интернета.

На плате есть 4 разъема USB , и именно для этого в комплекте с платой поставляется заглушка для задней панели компьютера необычной формы. Также в комплекте, помимо коробки привычного дизайна, можно найти описание платы, компакт-диск с драйверами и программным обеспечением, шлейфы ATA100/66 и ATA33, планка для второго последовательного порта на заднюю панель, а также шлейф для дисковода. Ничего необычного — все это мы уже видели. Из набора бесплатных программ можно выделить Norton Internet Security 2000 и Norton AntiVirus 2000, а также программное обеспечение для шифрования файлов — Encryption Plus.

Как и всегда у Intel, к исполнению ни одной претензии — нет криво напаянных элементов, удобство разводки не затрудняет установку платы — все очень достойно. Так как плата имеет свою двойняшку — плату D815EFV, выполненную на чипсете i815E, то на ней можно обнаружить нераспаянные разъемы DVI и VGA. Благодаря отсутствию второго последовательный порт расположен не на своем привычном месте — в случае необходимости иметь два COM-порта нам нужно будет присоединить планку для задней панели компьютера к разъему, находящемуся на передней стороне платы. В отличие от конкурентов, Intel не прибегает к установке LowESR конденсаторов на плату — но тут можно вспомнить о невозможности менять частоту FSB, при повышении которой и требуется более качественный тракт питания ядра процессора. На плате есть лишь одна перемычка — в одном из трех положений мы сможем зайти в BIOS Setup для очистки паролей, в другом плата попытается считать файл с BIOS'ом с дискеты или компакт-диска, это нужно в случае порчи содержимого микросхемы BIOS.

Сам же BIOS Setup, как я ранее уже упоминал, практически не предоставляет возможностей для конфигурации системы — там нет ни привычных в последнее время возможностей по изменению частоты FSB, ни возможности по изменению напряжения питаний ядра процессора и чипсета. Зато присутствует спасение пользователя от лицезрения на экране всех ужасов при инициализации и загрузки компьютера. Далее, в BIOS Setup — очень удобная система навигации по настройкам, последовательность загрузки винчестеров выбирается не по HDD-0, HDD-1, а по их названию. Объём памяти выводится в мегабайтах, а не в миллионах байтов. PC-speaker распаян прямо на матери. Светодиодик stand by на плате. Мелочи, но приятно.

Впрочем, как мы уже упоминали выше — эта плата для работы без проблем и головной боли, но не для любителей поэкспериментировать в свободное время.

SoundMAX with SPX

Однако одна изюминка, недоступная пока другим производителям, у платы Intel все же есть. Дело в том, что Intel получила на шесть месяцев эксклюзивное право на использование драйвера "SoundMAX with SPX" со своими интегрированными ситсемными платами под Pentium III и Pentium 4.

Изюминка эта — в AC'97 звуке, а в общем-то, не столько даже в нем, сколько в драйверах "SoundMAX with SPX", на которые Intel до конца года имеет полный эксклюзив. Итак, звуковая подсистема платы включает в себя:

  • Железная часть: интегрированный AC-link контроллер в Intel 82801BA I/O Controller Hub (ICH2) + аудио кодек v 2.2 Analog Devices AD1885.

  • Программная часть: ПО (драйвера) SoundMAX with SPX от Analog Devices для операционных систем Win98SE, WinME и Win2K.

А вот далее идет самое интересное. По заявлениям разработчиков, поддерживается совместимость с игровыми 3D sound API DirectSound/DirectX 8.0, A3D 1.0, EAX 1.0/2.0, I3DL2, Sensaura MacroFX и Zoom FX. Дальше — больше: заявлена технология аудио-рендеринга нового поколения SPX (Sound Production eXtention), позволяющая управлять синтезом звука напрямую из игр и мультимедиа приложений. Ну и все прочие стандартные возможности 3D-звука на базе технологий Sensaura: EnvironmentFX, 3D звуковой рендер с 26 пресетами и полной поддержкой EAX1.0/2.0, I3DL2 реверберации; эффекты ближнего поля Sensaura MacroFX и дальнего — Sensaura ZoomFX; технология, использующая отдельные HTRF фильтры для наушников и 2/4/6 колонок Digital Ear (возможен апгрейд до технологии индивидуальной подстройки HTRF фильтров Virtual Ear); а также на закуску — технология Virtual Theater Surround для прослушивания 4 и 5.1 канальных саундтреков в фильмах (возможен апгрейд до аналогичной технологии для наушников Headphone Virtual Theater Surround).

Подробному анализу преимуществ и недостатков подобного программного решения посвящён отдельный обзор.

Быстродействие






Мы вполне осознанно отказались от комментариев к каждой диаграмме, поскольку, уж простите за откровенность, оно того не стоит. "Скорострельность" материнских плат Intel всем уже давно известна, поэтому даже трудно судить о том, где сыграл роль сам чипсет, а где — производитель платы (ASUS "медленных" продуктов старается не выпускать, и CUSL2-C явно не из их числа). Свидетельствуют результаты сравнения о том, о чем уже не раз было сказано выше — i815 "старый" и "новый" — это, в принципе, один и тот же чипсет, и в плане скорости он не изменился совершенно (по крайней мере, эти изменения, если они и есть, не превышают допустимую погрешность измерений, а следовательно, неощутимы в реальной работе). Поддержки AGP FastWrites как не было, так и нет, что еще раз свидетельствует о косметичности внесенных изменений.

Что же касается самой платы, то она на все 100% "интеловская" — надежная, стабильная, практически ненастраиваемая (по части "тонких" параметров памяти, чипсета, и прочего — невозможно выставить руками ни частоту процессора, ни памяти — все делается автоматически по ID процессора. В общем, заставить работать Celeron на 75 МГц FSB или поставить 133 МГц для 100 МГц Pentium III — не получится), и довольно аскетичная. Что, в общем-то, совершенно не удивительно — если бы производитель чипсетов делал еще и самые "крутые" платы на этих чипсетах, то он сам подрубал бы сук, на котором сидит — все-таки основные объемы продаж Intel "делают" наборы микросхем, а не готовые продукты на их основе.

Выводы

Ну вот и побывал у нас i815 "B-step". Какие впечатления он оставил? Нормальные впечатления. Совершенно нормальный i815 :) Естественно, у производителей нет никаких причин после выхода обновленной версии продолжать выпускать материнские платы на старой т.к. их работу с новыми процессорами в общем-то никто не гарантирует. Что касается системной платы Intel D815EPFV — то, традиционно, это надежное решение для всех пользователей, которым важна стабильность работы и удобное решение для OEM производителей, собирающих компьютеры преимущественно для корпоративного сектора рынка. Вот, собственно, и все. А что — кто-то ждал большего? :)




Дополнительно

Чипсет i815 Step-B и системная плата D815EPFV от Intel

Чипсет i815 Step-B и системная плата D815EPFV от Intel

Тема "нового" Pentium III (Tualatin) и модернизированных чипсетов для него муссируется уже довольно давно. VIA Technologies и SiS даже анонсировали новые (по крайней мере номинально, по названию) чипсеты, предназначенные для работы с CPU этого типа. Intel оказалась более скромной, и ограничилась анонсом новой ревизии хорошо нам всем знакомого i815. Наше тестирование показало, что в данном случае "скромность" ведущего производителя чипсетов для платформы Socket 370 оказалась вполне обоснованной. Но об этом позже, а сейчас мы перейдем к рассмотрению основного героя этой статьи — i815 "B-step", т.е. новой ревизии чипсета, предназначенной для работы с Pentium III "Tualatin". Представлять этот чипсет будет (тоже несложно догадаться :) плата от Intel — D815EPFV Desktop Board.

Чипсет i815 "B-step"

Начнем с основного: никакими кардинальными изменениями по отношению к своей предыдущей инкарнации, новый степпинг чипсета не отличается. Что, в общем-то, вполне закономерно, и это можно было понять еще до выхода продукта в свет т.к. речь с самого начала шла о "степпинге", а не о каком-нибудь "i816", к примеру. Тем, кто чувствуют в себе достаточно сил (и желания) разбираться в особенностях регистров, вольтажа, и прочих тонкостях, настоятельно рекомендуем прочесть следующий параграф, который чрезвычайно подробно описывает все отличия нового степпинга i815 (а заодно и самого процессора, для которого этот чипсет предназначен). Те же, кого столь тонкие подробности не интересуют, могут пролистать пару экранов вниз, после чего попадут на две заключительные фразы "доклада", в которых и сосредоточен весь его смысл "с точки зрения обычного пользователя" :)

Логическое окружение Tualatin

Все существующие разновидности наборов системной логики (логическое окружение, чипсет) серии i82815хх производства Intel получаются в основном путем комбинирования существующих основных компонентов данной серии. В системах, оптимизированных для использования процессоров, выполненных по 013mkm технологии и основанных на модернизированном ядре Pentium III (так называемая 0.13-микронная серия, Tualatin), на данный момент применяются две модификации серии i82815xx — логики i82815 и i82815E. Данные чипсеты, применяемые для использования в системах с универсальным процессорным разъемом ZIF Socket 370 (For Use with Universal Socket 370), как и их "обычные" аналоги, состоят из трех компонент: северного моста — концентратора контролеров графического ядра и памяти (GMCH — Graphics and Memory Controller Hub), южного моста — концентратора контроллеров ввода/вывода (ICH — I/O Controller Hub) и хаба управления инфраструктурой системы (FWH — FirmWare Hub).

Новые наборы i82815 и i82815E, предназначенные для установки 0.13-микронного процессора (For Use with Universal Socket 370), отличаются между собой исключительно концентраторами периферийных компонентов (ICH): логика i82815 использует "первую" версию (ICH, FW82801AA), а набор i82815E — вторую (ICH2, FW82801BA). В остальном чипсеты абсолютно одинаковы — оба используют специальную версию (степпинг B0) основного хаба (FW82815-B0). Для полного представления картины рассмотрим основные особенности компонент данных логик с учетом модернизации конечной универсальной системы:

  • Процессорная/системная шины оптимизированы для "сегодняшних" процессоров, выполненных по 0.18-микронному техпроцессу и использующих упаковку FC-PGA: Celeron версии 533А и выше, работающих на частоте синхронизации системного сигнала 66MHz; PentiumIII, функционирующих на опорной частоте 133MHz, и новых процессоров, выполненных по 0.13-микронному техпроцессу, использующих упаковку FC-PGA2 и синхронизирующихся 133MHz сигналом BCLK.

  • Системная шина оптимизирована для 32bit адресации. Схемы приемников и передатчиков синхронных сигналов используют исключительно шину AGTL/AGTL+ (структура с открытым ненагруженным стоком — Open-drain Structure, — требующая оконечной нагрузки — терминатора, подтягивающего линию к высокому напряжению VTT) с уровнем напряжения 1.25/1.5 V соответственно, характеризующуюся лучшей по сравнению с GTL+ помехозащищенностью и меньшим уровнем шума, определяемым меньшей длительностью коммутации сигнала. Входные схемы приемников являются дифференциальными, в связи с чем сигнал воспринимается относительно опорного напряжения на входе (VREF), уровень которого составляет 2/3 от значения напряжения на терминаторе (VREF=2/3*VTT).

  • Подсистема памяти рассчитана на применение исключительно синхронного ДОЗУ (SDRAM), использует 100/133 MHz синхросигнал, поддерживает максимум шесть банков памяти (шесть линий одинарной нагрузки или три линии двойной) и максимальный объем до 512MB. Контроллер памяти поддерживает симметричную и асимметричную адресацию, рассчитан на применение х8 и х16 микросхем памяти, поддерживает CBR (CAS-before-RAS) механизм регенерации. Модули памяти с контролем коррекции ошибки (ECC SDRAM DIMM) или с микросхемами-регистрами (Registered SDRAM DIMM) данными системами не поддерживаются.

  • Интерфейс ускоренного графического порта (AGP — Accelerated Graphics Port) использует 1.5/3.3 V сигнал, поддерживает спецификацию AGP 2.0 и работает в режимах 1Х/2Х/4Х. Чипсеты не поддерживают протокол прямой пересылки данных минуя системное ОЗУ — режим работы Fast Write, запрещенный на аппаратном уровне в командном регистре (AGPCMD) и в регистре состояния (AGPSTAT) управления интерфейсом AGP основного хаба (GMCH). Семантический трафик AGP к памяти не использует механизм слежения за системной шиной, поэтому не является когерентным относительно процессорного кэша.

  • Встроенный графический контроллер i752 поддерживает довольно значительную часть 3D-функций, содержит 230MHz RAMDAC, и адресует максимум до 4MB дисплейного кэша, интерфейс которого мультиплексирован с шиной AGP. Порт AGP, кроме как интерфейс установки отдельного графического адаптера, применяется в качестве наращивания объема дисплейного кэша (Z-буфер) — 32bit 133MHz интерфейс SDRAM, расширяющийся при помощи специализированного модуля AIMM (AGP In-line Memory Module) конфигурации 2х 1Мх16 или 1х 2Мх32, вставляющегося в слот AGP.

  • Хаб контроллеров периферийных компонентов (ICH) поддерживает: интерфейс PCI 2.2 (максимум до 6 пар запросов/разрешений), 2 канала (по два устройство на канал) спецификации Ultra ATA/66 (хаб FW82801AA) или Ultra ATA/100 (концентратор FW82801BA) Bus Master IDE контроллера, 2 порта USB для ICH и 4 порта для ICH2 спецификации 1.1, встроенный расширенный контроллер прерываний I/O APIC (15 прерываний в режиме 8259 и 24 прерывания в расширенном режиме), контроллер управления системной шиной (SMBus — System Management Bus), интерфейс LPC, интерфейс кодека AC97, встроенный в ICH2 LAN-контроллер (в хабе ICH контроллер сетевого интерфейса отсутствует).

Как уже говорилось, данные версии логических наборов разработаны для конечных систем, рассчитанных на поддержку процессоров Celeron/PentiumIII, выполненных по 0.18/0.13-микронному техпроцессу, использующих упаковку FC-PGA и FC-PGA2 с интегрированным рассеивателем тепла (IHS — Integrated Heat Spreader), и не поддерживают процессоры PentiumII. Это определяется как полным переходом на шину AGTL/AGTL+, так и поддерживаемым системой диапазоном напряжением питания ядра (VCCCORE) — момент, обусловленный использованием новой версии регулятора напряжения питания (VR — Voltage Regulator) или модуля регулировки напряжения (VRM — Voltage Regulation Module) версии 8.5.

Рассмотрим основные моменты построения системы, поддерживающей как старые (0.18-микронные), так и новые (0.13-микронные) процессоры. Этот момент чрезвычайно важен, чтобы понять отличительные особенности нового процессора и необходимые схемотехнические модификации в цепях управляющей логики. Изменениям назначения сигналов подверглись выводы процессора AF36, AG1, AJ3, и AK22, а сигналы PICCLK, PWRGOOD и VTT в новом процессоре изменили уровень напряжения, кроме чего добавился сигнал VTTPWRGD, который не использовался ранее (в процессорах 0.18). На некоторые из вышеперечисленных выводов поставили схемы переключателей на полевых транзисторах (FET switches), чтобы контролировать состояние линии в зависимости от типа установленного процессора — состояние устанавливается исходя из фазы идентификации. Общее количество (см. для наглядности: таблица1, таблица2, таблица3, таблица4) схемотехнических модификаций для нового процессора довольно внушительно.

Так, например, линия входного сигнала синхронизации схем APIC (PIСCLK) нового процессора требует уровня напряжения 2.0V в отличие от старых систем, где применялись 2.5V. Схемы управления сигналом PWRGOOD теперь имеют уровень 1.8V, в отличие от ранних 2.5V, кроме чего в схему добавлен делитель, обеспечивающий уровень 2.1V, который удовлетворяет требованиям всей линейки процессоров 0.18/0.13. Уровень напряжения на терминаторах (VTT), к которому подтягиваются сигналы шины AGTL/AGTL+, в системах с 0.13-микронным процессором понизился до 1.25V, в противовес использующимся ранее 1.5V — схема управления данными линиями в универсальной системе также реализована на FET-переключателях. Уровень опорного напряжения GTLREF, составляющий 2/3 от VTT (грубо 0.7*VTT), также изменился, в связи с чем схемы управления этим сигналом для 0.18/0.13 процессоров требуют наличия отдельного резистора, разделяющего источники для разных процессоров. Проще говоря, протоколы AGTL и AGTL+ не совместимы, поскольку используют различные уровни переключения сигнала — соответственно, новые 0.13-микронные процессоры не могут функционировать в системах, базирующихся на стандартном протоколе AGTL+.

Конфигурирование не-VTT линий (не AGTL/AGTL+ уровней) для 0.13-микронных процессоров происходит по состоянию сигнала VTTPWRGD, который в 0.18-микронных процессорах соединен с линией VSS (постоянно низкий уровень). Схема источника сигнала VTTPWRGD и одноименного вывода процессора имеют 1kOhm развязку.

Опорный сигнал уровня VCMOS в системах с 0.18-микронными процессорами задается тем же источником, что и напряжение на терминаторах (непосредственно процессором). Однако в новых 0.13-микронных процессорах данный уровень не генерируется, поэтому в универсальной системе должен присутствовать отдельный формирователь VCMOS и назначение сигнала вывода нового процессора AK22, отвечающего за установку уровня GTL_REF в "старых", изменено на VCMOS_REF. Для обеспечения совместимости платформы со 0.18/0.13-микронными процессорами интерфейсная схема соединения вывода процессоров AK22 с логикой имеет параллельную RC-цепь.

Поскольку универсальная материнская плата под Socket 370 использует новую версию логического набора и предназначена для совместимости 0.18/0.13-микронных процессоров, ее дизайн рассчитан на системы, использующие GMCH степинга В0, и делает несовместимым 0.13-микронные процессоры при использовании более ранних ревизий хаба GMCH. Возможный выход из строя новых процессоров упреждает специальная цепь защиты, проверяющая правомочность используемой аппаратуры — вывод процессора AJ3 при помощи резистора 0Ohm нагружается на землю. В противовес старым процессорам, где данный вывод был заведен на землю, в новых процессорах AJ3 отвечает за аппаратный сброс (сигнал RESET#): если в базовую систему с ревизией GMCH ранее B0 установить процессор, выполненный по 0.13-микронному техпроцессу, то сработает "защита" — на схему процессора будет постоянно подаваться сигнал сброса, в то время как использование в данной системе старых процессоров будет абсолютно беспроблемным. Однако, если в системе (не важно с какой ревизией чипсета) линия AJ3 не нагружается (указываемый резистор не используется), то при прочих соблюденных условиях (корректность питающего протокола) новый процессор должен пройти фазу определения. Отсюда следует, что данная цепь реализована специально для избежания возможной несовместимости ревизии хаба, однако конечные производители материнских плат могут ее не реализовывать. Также это указывает на то, что использование процессора, выполненного по 0.13-микронному техпроцессу, возможно на любом чипсете, обеспечивающем поддержку требуемых AGTL-уровней.

Для корректного распознавания системой установленного процессора его надо идентифицировать. Роль своего рода идентификационного "флага" выполняет вывод AF36, который у старых процессоров закорочен на землю, а у новых не соединен. Схема цепи данного вывода в универсальной системе использует TTL-совместимые уровни и схематически "разветвляется" на две линии TUAL5/TUAL5# по состоянию которых однозначно определяется присутствующий в сокете процессор: если сигнал TUAL5 подтянут до 5V, а TUAL5# до низкого уровня напряжения, то в системе установлен 0.13-микронный процессор; наоборот — 0.18-микронный. Поскольку рассматриваемые процессоры используют разный уровень напряжения VTT, то для решения этого вопроса ввели схему на FET-переключателе, коммутирующего источник между соответствующими уровнями 1.25/1.5 V. Вывод AG1, занимающийся определением выставления текущего уровня AGTL/AGTL+, управляется состоянием линии TUAL5 после идентификации процессора: соответственно если данная линия находится в высоком состоянии, то источник генерирует 1.25V, в противном случае — 1.5V.

Идентификация процессора на уровне хаба GMCH происходит по состоянию линии SMAA12, зависящей от уровня сигнала TUAL5, а в конечном итоге от декодирования состояния сигнала на выводе AF36: если вывод AF36 находится в высокоимпедансном состоянии (HiZ), то по высокому уровню сигнала CPUPRES#, управляющего логикой PWRGOOD, система оповещается о присутствии 0.13-процессора; если в низком состоянии, то по высокому уровню сигнала CPUPRES# определяется 0.18-процессор; по низкому состоянию сигнала CPUPRES# система определяет отсутствие процессора в сокете. Сигнал CPUPRES# считывается управляющей логикой совместно с комбинацией идентификатора напряжения питания VID[3:0] и сообщает о присутствии в сокете процессора.

В отличие от 0.18-микронных процессоров FC-PGA, имеющих 4bit код идентификатора напряжения VID[3:0], 0.13-микронный содержит пятый "отличительный" бит — сигнал VID25mV (аналог VID4 в процессорах, исполненных в S.E.C.C./S.E.P.P), соответствующий выводу AK36, который в старых процессорах заведен на VSS (50mV инкремент). Поэтому теперь полный идентификатор напряжения питания у нового процессора имеет сигнатуру VID[25mV, 3:0]. С позиции VCCCORE высокий уровень сигнала VID25mV указывает на то, что напряжение ядра инкрементируется с шагом 0.025V. Без флага VID25mV (низкий уровень) бинарные комбинации VRM 8.5 полностью аналогичны комбинациям вольт-регулятора VRM 8.4 — момент, необходимый для рассматриваемой универсальной платформы и обусловленный совместимостью с кодом напряжения для 0.18-микронный процессоров.

Просуммировав все вышеизложенное, можно сделать ряд выводов. Новый степпинг чипсета выпущен именно с целью поддержки корректной работы с новыми 0,13-микронными процессорами. Больше ничем примечательным с технической точки зрения и с точки зрения поддерживаемых спецификаций, i815 Step-B от предыдущей ревизии не отличается. На системных платах, выполненных на ранних ревизиях чипсета i815 в полном соответствии со спецификацией, процессоры Tualatin работать не будут. Но вот на платах, основанных, например на чипсете 440BX, сигнал сброса на процессор подаваться не будет. Вот отсюда и появилось заблуждение о том, что новые 0.13микрон процессоры от Intel будут беспроблемно функционировать на этих платах. Но не поленитесь прочесть различия в спецификациях еще раз — VRM 8.5 обеспечивает шаг 0.005 В, а серия VRM 8.4, VRM 8.3 и VRM 8.2 — 0.05В. Поскольку ядро Tualatin питается напряжением 1.425 В, то такой уровень напряжения может обеспечить только VRM 8.5. Так что количество времени, в течение которого вы сможете насладиться работой 0.13 микрон процессора в Вашей старой системной плате, зависит только от чистого везения, и вполне может исчисляться всего несколькими минутами или часами. Так что такой риск вполне оправдан только в том случае, если цель эксперимента состоит в том, чтобы снять скриншот на предельно возможной частоте процессора, и, наконец, переплюнуть этих зарвавшихся оверклокеров из страны восходящего солнца.

Плата Intel D815EPFV

Неделя высокой моды в Париже. Все присутствующие многозначительно водят носами вслед манекенщицам. Дефиле известного всему миру мэтра. Он — академик института Высокой Моды. И лишь один из присутствующих подает возглас — "А король то голый!". Именно такое сравнение хотелось бы привести в применении к плате от законодателя мод в мире персональных компьютеров — компании Intel.

Да, новый (относительно) чипсет позволяет говорить о том, что плата достойна обзора — но помимо нового набора микросхем должно быть и что-то еще, что привлекло бы к себе внимание. Ведь платье из новой ткани, сшитое никому неизвестной портнихой из сельского ателье, но не имеющее стройной концепции не произведет фурора на подиумах. Каким бы новым не было содержание, функциональность и продуманный дизайн, как мне кажется, должны быть как минимум адекватны. С точки зрения рядового домашнего или офисного пользователя, которому главное, чтобы без проблем и сразу работало — у платы от Intel все отлично. А вот если вы считаете себя продвинутым пользователем, т.е. у вас есть жгучее желание что-нибудь разогнать, например, то плата D815EPFV не для вас. В общем, как всегда, выбор остается за вами и выбирать плату нужно именно под свои задачи. Теперь же более подробно о самой плате.

Спецификация

  • Процессор: FCPGA Socket 370 Intel Pentium III с частотой шины 100/133 МГц и Intel Celeron с частотой шины 66/100 МГц
  • Чипсет: Intel 815EP (Intel 82815EP Memory Controller Hub (MCH), Intel 82801BA Enhanced I/O Controller Hub 2 (ICH2), Intel 82802AB Firmware Hub (FWH))
  • Системная память:
    • три 168-контактных разъема DIMM, PC100/PC133 SDRAM
    • Максимальный объем памяти — 512 Мбайт, ECC не поддерживается
  • Слот AGP с поддержкой режима 4x
  • Слоты расширения:
    • 3 32-битных слотов PCI 2.2
    • 1 слот CNR (Communication and Networking Riser) — опционально
  • Порты ввода-вывода:
    • FDD, два последовательных и один параллельный порты, порты для PS/2 мыши и клавиатуры
    • Четыре встроенных порта USB
    • Интегрированный IDE контроллер (2 канала IDE, поддерживающие протоколы ATA/33/66/100 (с поддержкой до 4 ATAPI-устройств)
  • Интегрированный сетевой контроллер: Intel Pro/100 адаптер, 10/100 Мбит
  • Интегрированный звук: AC'97, микросхема кодека — Analog Devices AD1885
  • BIOS:
    • 4-х мегабитный Flash EEPROM
    • Phoenix BIOS с поддержкой Enhanced ACPI, DMI, Green, PnP Features и Trend Chip Away Virus
  • Разное:
    • STR (Suspend to RAM)
    • Аппаратный мониторинг
    • Пробуждение от модема, мыши, клавиатуры, сети, таймера и USB
  • Размер: MicroATX форм-фактор, 244x240 мм

Плата — еще один представитель продукции формата MicroATX, который намного лучше вписывается в компьютеры, производимые компаниями-сборщиками, нежели для реализации этой продукции на retail-рынке. Уменьшенное число слотов расширения и высокая интеграция — сетевой адаптер, звук, а варианте платы с индексом EVF и видео, наводит на мысль об офисном компьютере или втором/третьем домашнем компьютере для работы с документами и/или интернета.

На плате есть 4 разъема USB , и именно для этого в комплекте с платой поставляется заглушка для задней панели компьютера необычной формы. Также в комплекте, помимо коробки привычного дизайна, можно найти описание платы, компакт-диск с драйверами и программным обеспечением, шлейфы ATA100/66 и ATA33, планка для второго последовательного порта на заднюю панель, а также шлейф для дисковода. Ничего необычного — все это мы уже видели. Из набора бесплатных программ можно выделить Norton Internet Security 2000 и Norton AntiVirus 2000, а также программное обеспечение для шифрования файлов — Encryption Plus.

Как и всегда у Intel, к исполнению ни одной претензии — нет криво напаянных элементов, удобство разводки не затрудняет установку платы — все очень достойно. Так как плата имеет свою двойняшку — плату D815EFV, выполненную на чипсете i815E, то на ней можно обнаружить нераспаянные разъемы DVI и VGA. Благодаря отсутствию второго последовательный порт расположен не на своем привычном месте — в случае необходимости иметь два COM-порта нам нужно будет присоединить планку для задней панели компьютера к разъему, находящемуся на передней стороне платы. В отличие от конкурентов, Intel не прибегает к установке LowESR конденсаторов на плату — но тут можно вспомнить о невозможности менять частоту FSB, при повышении которой и требуется более качественный тракт питания ядра процессора. На плате есть лишь одна перемычка — в одном из трех положений мы сможем зайти в BIOS Setup для очистки паролей, в другом плата попытается считать файл с BIOS'ом с дискеты или компакт-диска, это нужно в случае порчи содержимого микросхемы BIOS.

Сам же BIOS Setup, как я ранее уже упоминал, практически не предоставляет возможностей для конфигурации системы — там нет ни привычных в последнее время возможностей по изменению частоты FSB, ни возможности по изменению напряжения питаний ядра процессора и чипсета. Зато присутствует спасение пользователя от лицезрения на экране всех ужасов при инициализации и загрузки компьютера. Далее, в BIOS Setup — очень удобная система навигации по настройкам, последовательность загрузки винчестеров выбирается не по HDD-0, HDD-1, а по их названию. Объём памяти выводится в мегабайтах, а не в миллионах байтов. PC-speaker распаян прямо на матери. Светодиодик stand by на плате. Мелочи, но приятно.

Впрочем, как мы уже упоминали выше — эта плата для работы без проблем и головной боли, но не для любителей поэкспериментировать в свободное время.

SoundMAX with SPX

Однако одна изюминка, недоступная пока другим производителям, у платы Intel все же есть. Дело в том, что Intel получила на шесть месяцев эксклюзивное право на использование драйвера "SoundMAX with SPX" со своими интегрированными ситсемными платами под Pentium III и Pentium 4.

Изюминка эта — в AC'97 звуке, а в общем-то, не столько даже в нем, сколько в драйверах "SoundMAX with SPX", на которые Intel до конца года имеет полный эксклюзив. Итак, звуковая подсистема платы включает в себя:

  • Железная часть: интегрированный AC-link контроллер в Intel 82801BA I/O Controller Hub (ICH2) + аудио кодек v 2.2 Analog Devices AD1885.

  • Программная часть: ПО (драйвера) SoundMAX with SPX от Analog Devices для операционных систем Win98SE, WinME и Win2K.

А вот далее идет самое интересное. По заявлениям разработчиков, поддерживается совместимость с игровыми 3D sound API DirectSound/DirectX 8.0, A3D 1.0, EAX 1.0/2.0, I3DL2, Sensaura MacroFX и Zoom FX. Дальше — больше: заявлена технология аудио-рендеринга нового поколения SPX (Sound Production eXtention), позволяющая управлять синтезом звука напрямую из игр и мультимедиа приложений. Ну и все прочие стандартные возможности 3D-звука на базе технологий Sensaura: EnvironmentFX, 3D звуковой рендер с 26 пресетами и полной поддержкой EAX1.0/2.0, I3DL2 реверберации; эффекты ближнего поля Sensaura MacroFX и дальнего — Sensaura ZoomFX; технология, использующая отдельные HTRF фильтры для наушников и 2/4/6 колонок Digital Ear (возможен апгрейд до технологии индивидуальной подстройки HTRF фильтров Virtual Ear); а также на закуску — технология Virtual Theater Surround для прослушивания 4 и 5.1 канальных саундтреков в фильмах (возможен апгрейд до аналогичной технологии для наушников Headphone Virtual Theater Surround).

Подробному анализу преимуществ и недостатков подобного программного решения посвящён отдельный обзор.

Быстродействие






Мы вполне осознанно отказались от комментариев к каждой диаграмме, поскольку, уж простите за откровенность, оно того не стоит. "Скорострельность" материнских плат Intel всем уже давно известна, поэтому даже трудно судить о том, где сыграл роль сам чипсет, а где — производитель платы (ASUS "медленных" продуктов старается не выпускать, и CUSL2-C явно не из их числа). Свидетельствуют результаты сравнения о том, о чем уже не раз было сказано выше — i815 "старый" и "новый" — это, в принципе, один и тот же чипсет, и в плане скорости он не изменился совершенно (по крайней мере, эти изменения, если они и есть, не превышают допустимую погрешность измерений, а следовательно, неощутимы в реальной работе). Поддержки AGP FastWrites как не было, так и нет, что еще раз свидетельствует о косметичности внесенных изменений.

Что же касается самой платы, то она на все 100% "интеловская" — надежная, стабильная, практически ненастраиваемая (по части "тонких" параметров памяти, чипсета, и прочего — невозможно выставить руками ни частоту процессора, ни памяти — все делается автоматически по ID процессора. В общем, заставить работать Celeron на 75 МГц FSB или поставить 133 МГц для 100 МГц Pentium III — не получится), и довольно аскетичная. Что, в общем-то, совершенно не удивительно — если бы производитель чипсетов делал еще и самые "крутые" платы на этих чипсетах, то он сам подрубал бы сук, на котором сидит — все-таки основные объемы продаж Intel "делают" наборы микросхем, а не готовые продукты на их основе.

Выводы

Ну вот и побывал у нас i815 "B-step". Какие впечатления он оставил? Нормальные впечатления. Совершенно нормальный i815 :) Естественно, у производителей нет никаких причин после выхода обновленной версии продолжать выпускать материнские платы на старой т.к. их работу с новыми процессорами в общем-то никто не гарантирует. Что касается системной платы Intel D815EPFV — то, традиционно, это надежное решение для всех пользователей, которым важна стабильность работы и удобное решение для OEM производителей, собирающих компьютеры преимущественно для корпоративного сектора рынка. Вот, собственно, и все. А что — кто-то ждал большего? :)