ASUS CUSL2-C на базе i815EP


Первое, что пришло на ум при знакомстве с системной платой CUSL2-C — да и не плата это вовсе, а "жертва повальной унификации"…

Нет, не так. В последнее все чаще прослеживаются аналогии между компьютерной и автомобильной промышленностью, в условиях жесточайшей конкуренции в обеих этих отраслях приходится применять схожие маркетинговые ходы и всевозможные шаги для удешевления проектирования и производства продукции.

Возьмем, например, компанию Jaguar, входящую в концерн Ford — олицетворение настоящих английских автомобилей, воплощение респектабельности. Но за основу маленького Jaguar, который будет конкурировать с Mercedes C-класса или трешкой BMW, взято ни что иное, как шасси Ford Mondeo последнего поколения — "народного" автомобиля, не имеющего и десятой доли престижа марки Jaguar. Зато можно подсчитать, что средства, сэкономленные на разработке платформы для нового Jaguar, позволят понизить себестоимость конечного продукта на несколько тысяч USD, что даст возможность либо снизить цену и увеличить объемы продаж, либо существенно увеличить процент прибыли с каждого проданного автомобиля. С другой стороны, существует опасность, что истинные ценители Jaguar не пожелают покупать автомобиль с репутацией, подмоченной родством с транспортом для домохозяек…

В компьютерной индустрии, в частности при производстве системных плат, все несколько проще. Никто не отвернется от платы, созданной на базе максимально унифицированной PCB, с бесчисленным количеством не распаянных портов, микросхем и слотов расширения, зато на основе этой печатной платы можно создать бесчисленное множество вариантов, по сути, одной и той же платы, а покупатель выберет именно то, что ему необходимо, исходя из собственных потребностей и средств, которыми он располагает. Так что CUSL2-C , пожалуй, все же не "жертва", а образец того, какими скоро станут практически все платы — снова ASUS "впереди планеты всей".

Можно возразить, что понемногу такой подход используют практически все производители — например, оставляют место под вторую микросхему BIOS и т.д., но в таком масштабе — это впервые. Смотрите сами:

Итак, в нашей лаборатории плата CUSL2-C от компании ASUS, первая плата на чипсете i815EP, одним из самых ожидаемых, а потому обросшим массой слухов.

На самом деле, оказалось, что отличий от i815E — минимум, но учитывая несомненную значимость нового чипсета, его стоит рассмотреть подробнее.

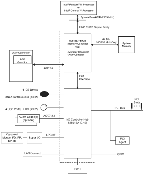
Чипсет i815EP

Все-таки i815 оказался не совсем тем чипсетом, на который рассчитывали поклонники Intel, и появившись, он принес немало разочарований. В основном — поддержка всего 512 мегабайт памяти, отсутствие поддержки ECC, да и производительность оставляла желать лучшего — планка, установленная BX, так и осталась непокоренной. В довершение всего, встроенное графическое ядро двухлетней давности не у кого не вызывало умиления, а лишь ненужным балластом увеличивало сложность микросхемы северного моста GMCH, тем самым обусловливая довольно высокий процент отбраковки, а соответственно, и немалую цену чипсета и системных плат на нем.

Тем временем VIA Apollo Pro133A находился вне конкуренции, обеспечивая оптимальное соотношение цена/возможности/производительность, и Intel решается на весьма сильный ход — выпуск чипсета i815EP, с полностью совместимым с предшественником северным мостом, но без встроенной графики.

О выходе чипсета стало известно достаточно давно, и разгоряченное воображение поклонников Intel рисовало картины одну радужнее другой. Несомненно, поддержка 1,5 ГБ памяти, возможность использования памяти на частоте 133 МГц с процессорами, использующими 100 МГц шину, производительность, не снившуюся и BX…

Но, в целом чипсет i815E неплох, и в Intel, видимо, уже устав последнее время постоянно попадать в истории, решили, что "от добра — добра не ищут" и просто вырезали из северного моста графическое ядро, оставив все остальное без изменений.

Кратко рассмотрим основные характеристики получившегося северного моста i815EP MCH (Memory Controller Hub):

    Поддерживаемые процессоры и шина:
    • Intel Pentium III и Intel Celeron в упаковке FC-PGA
    • Процессорный разъем — Socket-370
    • 32-разрядная шина адреса
    • Наличие интерфейсов шин адреса, данных и управления
    • Поддержка конвейеризации до 4 независимых запросов на системной шине
    • Возможность создания только однопроцессорных систем
    • Поддержка частот системной шины 66/100/133MHz
    Встроенный контроллер SDRAM:
    • Поддержка от 32 MB до 512 MB памяти с использованием 16Mb/64Mb/128Mb/256Mb чипов в DIMM модулях
    • Поддержка до 3-х двусторонних модулей DIMM при 100 MHz системной шине
    • Поддержка до 2-х двусторонних или 3-х односторонних модулей DIMM при 133 MHz системной шине
    • 64-разрядная шина данных
    • Поддержка частот памяти 100/133 MHz
    • Поддержка только Unbuffered памяти без ECC
    • Поддержка Suspend to RAM
    Встроенный Accelerated Graphics Port (AGP) интерфейс:
    • Поддержка 1-го AGP устройства
    • Поддержка AGP 2.0, в частности режима передачи данных 4x AGP
    Поддерживаемые южные мосты:
    • 82801AA I/O Controller Hub (ICH)
    • 82801BA I/O Controller Hub (ICH2)
    Упаковка и напряжение:
    • 544 pin BGA
    • 1.85V напряжение ядра и 3.3V напряжение I/O

Сходство со старшим братом — i815E GMCH (Graphics & Memory Controller Hub) — налицо. Ба, да это же легкие деньги! Сэкономили на проектировании нового чипсета — это раз, достали со свалки некондиционные GMCH (основная причина отбраковки кроется именно в графическом ядре), отключили в BIOS встроенное видео, и давай продавать — это два. И никаких проблем с задержкой поставок — пока настоящие MCH появятся в достаточном количестве, проблему дефицита перекроют ущербные GMCH.

Казалось бы, обман — вместо замечательного нового i815EP подсовывают i815E. Но он на руку не только Intel, но и нам с вами — ведь вместо того, чтобы увидеть в продаже подешевевшие относительно старших сестер платы после Нового года, мы можем купить их уже сейчас, а разницы в возможностях и скорости между настоящим MCH и якобы ущербным GMCH просто нет!

Спецификация

  • Процессор
    • Поддерживаются только FCPGA Socket 370 процессоры Intel Pentium III с частотой шины 100/133 МГц и Intel Celeron с частотой шины 66 МГц
  • Чипсет
    • Intel 815EP (Intel 82815EP Memory Controller Hub (MCH), Intel 82801BA Enhanced I/O Controller Hub 2 (ICH2), Intel 82802AB Firmware Hub (FWH))
  • Системная память
    • 3 168-контактных разъема DIMM, поддерживающих PC100/PC133 SDRAM
    • Максимальный объем поддерживаемой памяти — 512Мбайт
    • ECC не поддерживается
  • AGP
    • Слот AGP с поддержкой режима 4x
  • Слоты расширения
    • 6 32-битных слотов PCI 2.2
    • 1 слот CNR (Communication and Networking Riser)
  • Порты ввода-вывода
    • Один порт для FDD, два последовательных и один параллельный порты, порты для PS/2 мыши и клавиатуры
    • Два встроенных порта USB и два дополнительных порта USB
  • Интегрированный IDE контроллер
    • 2 канала IDE, поддерживающие протоколы ATA/33/66/100 (с поддержкой до 4 ATAPI-устройств)
  • BIOS
    • 4-х мегабитный Flash EEPROM
    • Award BIOS с поддержкой Enhanced ACPI, DMI, Green, PnP Features и Trend Chip Away Virus
  • Разное
    • STR (Suspend to RAM)
    • Поддержка ASUS iPanel
    • Аппаратный мониторинг
    • Пробуждение от модема, мыши, клавиатуры, сети, таймера и USB
  • Размер
    • ATX форм-фактор, 30,5x20,8 см

Под столь многообещающую плату ASUS разработал коробку приятного зеленого цвета с гордой надписью "CUSL2-C Motherboard", хотя обычно коробки у ASUS безымянные и узнать о том, какая плата в коробке, можно лишь по маленькому белому стикеру. Уже одно это позволяет судить о том, какие высокие ставки у ASUS на эту плату. В комплект входит набор кабелей, состоящий из FDD шлейфа, 40-жильного IDE шлейфа, 80-жильного UltraDMA66/100 шлейфа и заглушки со вторым COM-портом. Также на заглушке смонтированы два дополнительных USB-порта, устанавливаемые в заднюю стенку корпуса. Компакт диск содержит драйвера, утилиту мониторинга ASUS PC Probe, антивирусную программу Trend PC-cillin, Cyberlink PowerPlayer SE, Video Live Mail Retail и PowerDVD Trial. Досадно, что отличающийся щепетильностью в таких вещах ASUS на этот раз спешил с выпуском платы так, что не удосужился качественно переработать руководство пользователя, содержащее множество оставшихся без изменений со времен GMCH упоминаний о встроенном видео. Да, для любителей облеплять холодильник переводными картинками, конечно же, наклейка с пегасом — "Powered by ASUS".

Плата

Поскольку плата ASUS CUSL2 уже рассматривалась на нашем сайте, то от повторения пройденного, пожалуй, стоит отказаться — ограничимся лишь рассмотрением основных отличий CUSL2-C, хотя их не так уж много.

Разговор о всеобщей унификации в начале обзора совершенно не случаен — плата CUSL2-C выполнена совершенно на той же PCB, что и CUSL2, при этом в лучших "спартанских" традициях лишена всего, что изначально подразумевалось в качестве опций при проектировании платы.

Вглядимся поподробнее. Сначала — отличия от CUSL2. Вместо AGP Pro слота установлен самый обычный AGP — да и в самом деле, видеочипы постепенно переводятся на все более тонкий технологический процесс, и видеокарты становятся не столь прожорливыми, как раньше, что позволит прекрасно обходиться слотом AGP без Pro.

Убрали второй CNR, тоненький слот половинной ширины, который разделялся с таким же тоненьким шестым PCI, контакты которого, в силу особенностей конструкции, более восприимчивы к механическим воздействиям; не стоит часто вставлять/вынимать карты из этого слота. Ну, убрали и убрали, почти никто и первым-то не пользуется, а о втором так и подавно жалеть не стоит. Пропал и VGA разъем встроенного видео, но особенности проектирования не позволили водрузить второй COM-порт на его законное место — он так и остался на переднем краю платы — поближе к контроллеру и подальше от чаяний пользователей, предпочитающих вообще не использовать этот порт, чем тянуть шлейф через всю плату к задней стенке корпуса. И USB хабчик тоже убрали — и 4 портов за глаза хватит.

Еще интересней обстоят дела с базовой комплектацией платы — другие производители обычно поставляют такие минималистские варианты только для OEM партнеров. Итак, чего же мы лишены? Лишены практически бесплатного звука в составе AC'97 кодека, 3-х аудио-разъемов — Line-In, Line-Out и Microphone, а также разъема для подключения джойстика. Напомнило описание Geforce2 Ultra — "данной плате не нужен ТВ-выход, потому что она рассчитана на разрешения 1600 на 1200, а телевизор работает максимум 800 на 600". Также и здесь — покупателю CUSL2 или CUSL2-C не нужен дешевый звук, он все равно купит что-нибудь не хуже Live! или Vortex2. В общем, оно где-то и правильно — почти все именно так и поступают — поэтому и не едут в Россию платы семейства CUSL2 с аудио на борту. Заодно и вопросов, как будут уживаться встроенный звук и Live!, у рядовых покупателей не возникнет.

Кстати, второй интересный момент — CUSL2-C не работает с PPGA Celeron, представленными на рынке моделями от 366 до 500 МГц. Вот как комментирует ситуацию ASUS:

ASUS: "Среди продвинутых российских пользователей найдется совсем мало людей, которые захотят использовать данную плату с процессорами PPGA Celeron, поэтому мы просто отключили данную функцию в нашей материнской плате."

Чтобы понять, почему это произошло, оглянемся назад. У компании ASUS было две легендарные платы, выдающиеся качества которых признают даже те, кто ASUS недолюбливает. Это — уже многими позабытая P55T2P4 на Intel HX, и здравствующая и поныне P3B-F. Заменит ли CUSL2-C плату P3B-F?

ASUS: "Да, заменит. Но только в верхнем сегменте рынка — для FCPGA .18 микрон процессоров. А для среднего и низшего сегмента — решение на BX — CUBX-E (ATA100, 5USB), усовершенствованная версия платы CUBX, в которой и рекомендуется использовать PPGA Celeron."

Дополнительная, весьма действенная мера по сегментации рынка — вопросов больше нет.

Что касается стабильности работы, то здесь нареканий практически никаких. Да и не удивительно — в импульсных преобразователях напряжения применены 11 LowESR конденсаторов емкостью 1500uF, часть которых установлена вплотную к процессорному гнезду. Так что никакой ORB точно не влезет, а любителям разгона, да и просто хорошего охлаждения, придется поискать достойный кулер среди квадратных.

Кстати, с разгоном эталонного Coppermine 700 МГц не очень то заладилось — 135 * 7 = 945 без поднятия напряжения, и 136 * 7 = 952 МГц с поднятием на 0,1 В. Возможно, это вина конкретного экземпляра, и желающим приобрести плату можно надеяться на более высокие показатели.

Ну и конечно, плата CUSL2-C, также как и CUSL2, поддерживает такую замечательную штучку, как iPanel. Кстати, она уже появилась в нашей лаборатории, но это тема для другого обзора…

А теперь посмотрим, как обстоят дела с производительностью платы.

Производительность

При оценке производительности использовалось следующее оборудование:

  • Процессор: Intel Pentium III Coppermine 800 МГц, шина 133 МГц, Socket-370
  • Материнская плата: ASUS CUSL2-C на чипсете i815EP
  • Материнская плата: ASUS CUSL2 на чипсете i815E
  • Материнская плата: SOYO 7ISA на чипсете i815E
  • Материнская плата: EPoX EP-3S2A на чипсете i815E
  • Память: Samsung PC133 128Mb
  • Жесткий диск: IBM DTLA 20Gb 7200RPM
  • CD-ROM: Panasonic 40x speed
  • Видеокарта: ASUS V7700 Geforce2 GTS (Core:200MHz; Mem:166MHz DDR)

И программное обеспечение:

  • Windows ME final release build 3000
  • NVIDIA Detonator 2 v6.34
  • BapCo & Mad Onion SysMark 2000 Internet Content Creation v1.0 patch 4B
  • idSoftware Quake III Arena v1.17 demo001.dm3




Производительность платы находится на вполне достойном уровне, явно не ниже производительности CUSL2. Возможно, сказалось отсутствие встроенной графики, возможно, дело в BIOS'е, но с другой стороны, разрыв настолько невелик, что его можно списать на погрешность измерения.

Выводы

Итак, флагманская модель ASUS на чипсете от Intel сбросила ненужный балласт в лице встроенного видео и еще нескольких мелочей, серьезно похудела в цене — на 20-25 USD, и теперь готова вступить в бой за сердца покупателей — благо, все предпосылки для этого налицо. Встречайте ASUS CUSL2-C!

Плюсы:

  • новейший чипсет i815EP
  • традиционная стабильность
  • широкие возможности для разгона

Минусы:

  • отсутствие встроенного звука

P.S. Конечно, можно добавить к минусам то, что цена все еще велика, но именно сейчас, с платой CUSL2-C, ASUS близко к народу как никогда раньше.

Материнская плата ASUS CUSL2-C предоставлена компанией Юпитер
Материнские платы ASUS CUSL2 и EpoX EP-3S2A предоставлены компанией M4




Дополнительно

Обзор системной платы ASUS CUSL2-C на базе i815EP

ASUS CUSL2-C на базе i815EP

Первое, что пришло на ум при знакомстве с системной платой CUSL2-C — да и не плата это вовсе, а "жертва повальной унификации"…

Нет, не так. В последнее все чаще прослеживаются аналогии между компьютерной и автомобильной промышленностью, в условиях жесточайшей конкуренции в обеих этих отраслях приходится применять схожие маркетинговые ходы и всевозможные шаги для удешевления проектирования и производства продукции.

Возьмем, например, компанию Jaguar, входящую в концерн Ford — олицетворение настоящих английских автомобилей, воплощение респектабельности. Но за основу маленького Jaguar, который будет конкурировать с Mercedes C-класса или трешкой BMW, взято ни что иное, как шасси Ford Mondeo последнего поколения — "народного" автомобиля, не имеющего и десятой доли престижа марки Jaguar. Зато можно подсчитать, что средства, сэкономленные на разработке платформы для нового Jaguar, позволят понизить себестоимость конечного продукта на несколько тысяч USD, что даст возможность либо снизить цену и увеличить объемы продаж, либо существенно увеличить процент прибыли с каждого проданного автомобиля. С другой стороны, существует опасность, что истинные ценители Jaguar не пожелают покупать автомобиль с репутацией, подмоченной родством с транспортом для домохозяек…

В компьютерной индустрии, в частности при производстве системных плат, все несколько проще. Никто не отвернется от платы, созданной на базе максимально унифицированной PCB, с бесчисленным количеством не распаянных портов, микросхем и слотов расширения, зато на основе этой печатной платы можно создать бесчисленное множество вариантов, по сути, одной и той же платы, а покупатель выберет именно то, что ему необходимо, исходя из собственных потребностей и средств, которыми он располагает. Так что CUSL2-C , пожалуй, все же не "жертва", а образец того, какими скоро станут практически все платы — снова ASUS "впереди планеты всей".

Можно возразить, что понемногу такой подход используют практически все производители — например, оставляют место под вторую микросхему BIOS и т.д., но в таком масштабе — это впервые. Смотрите сами:

Итак, в нашей лаборатории плата CUSL2-C от компании ASUS, первая плата на чипсете i815EP, одним из самых ожидаемых, а потому обросшим массой слухов.

На самом деле, оказалось, что отличий от i815E — минимум, но учитывая несомненную значимость нового чипсета, его стоит рассмотреть подробнее.

Чипсет i815EP

Все-таки i815 оказался не совсем тем чипсетом, на который рассчитывали поклонники Intel, и появившись, он принес немало разочарований. В основном — поддержка всего 512 мегабайт памяти, отсутствие поддержки ECC, да и производительность оставляла желать лучшего — планка, установленная BX, так и осталась непокоренной. В довершение всего, встроенное графическое ядро двухлетней давности не у кого не вызывало умиления, а лишь ненужным балластом увеличивало сложность микросхемы северного моста GMCH, тем самым обусловливая довольно высокий процент отбраковки, а соответственно, и немалую цену чипсета и системных плат на нем.

Тем временем VIA Apollo Pro133A находился вне конкуренции, обеспечивая оптимальное соотношение цена/возможности/производительность, и Intel решается на весьма сильный ход — выпуск чипсета i815EP, с полностью совместимым с предшественником северным мостом, но без встроенной графики.

О выходе чипсета стало известно достаточно давно, и разгоряченное воображение поклонников Intel рисовало картины одну радужнее другой. Несомненно, поддержка 1,5 ГБ памяти, возможность использования памяти на частоте 133 МГц с процессорами, использующими 100 МГц шину, производительность, не снившуюся и BX…

Но, в целом чипсет i815E неплох, и в Intel, видимо, уже устав последнее время постоянно попадать в истории, решили, что "от добра — добра не ищут" и просто вырезали из северного моста графическое ядро, оставив все остальное без изменений.

Кратко рассмотрим основные характеристики получившегося северного моста i815EP MCH (Memory Controller Hub):

    Поддерживаемые процессоры и шина:
    • Intel Pentium III и Intel Celeron в упаковке FC-PGA
    • Процессорный разъем — Socket-370
    • 32-разрядная шина адреса
    • Наличие интерфейсов шин адреса, данных и управления
    • Поддержка конвейеризации до 4 независимых запросов на системной шине
    • Возможность создания только однопроцессорных систем
    • Поддержка частот системной шины 66/100/133MHz
    Встроенный контроллер SDRAM:
    • Поддержка от 32 MB до 512 MB памяти с использованием 16Mb/64Mb/128Mb/256Mb чипов в DIMM модулях
    • Поддержка до 3-х двусторонних модулей DIMM при 100 MHz системной шине
    • Поддержка до 2-х двусторонних или 3-х односторонних модулей DIMM при 133 MHz системной шине
    • 64-разрядная шина данных
    • Поддержка частот памяти 100/133 MHz
    • Поддержка только Unbuffered памяти без ECC
    • Поддержка Suspend to RAM
    Встроенный Accelerated Graphics Port (AGP) интерфейс:
    • Поддержка 1-го AGP устройства
    • Поддержка AGP 2.0, в частности режима передачи данных 4x AGP
    Поддерживаемые южные мосты:
    • 82801AA I/O Controller Hub (ICH)
    • 82801BA I/O Controller Hub (ICH2)
    Упаковка и напряжение:
    • 544 pin BGA
    • 1.85V напряжение ядра и 3.3V напряжение I/O

Сходство со старшим братом — i815E GMCH (Graphics & Memory Controller Hub) — налицо. Ба, да это же легкие деньги! Сэкономили на проектировании нового чипсета — это раз, достали со свалки некондиционные GMCH (основная причина отбраковки кроется именно в графическом ядре), отключили в BIOS встроенное видео, и давай продавать — это два. И никаких проблем с задержкой поставок — пока настоящие MCH появятся в достаточном количестве, проблему дефицита перекроют ущербные GMCH.

Казалось бы, обман — вместо замечательного нового i815EP подсовывают i815E. Но он на руку не только Intel, но и нам с вами — ведь вместо того, чтобы увидеть в продаже подешевевшие относительно старших сестер платы после Нового года, мы можем купить их уже сейчас, а разницы в возможностях и скорости между настоящим MCH и якобы ущербным GMCH просто нет!

Спецификация

  • Процессор
    • Поддерживаются только FCPGA Socket 370 процессоры Intel Pentium III с частотой шины 100/133 МГц и Intel Celeron с частотой шины 66 МГц
  • Чипсет
    • Intel 815EP (Intel 82815EP Memory Controller Hub (MCH), Intel 82801BA Enhanced I/O Controller Hub 2 (ICH2), Intel 82802AB Firmware Hub (FWH))
  • Системная память
    • 3 168-контактных разъема DIMM, поддерживающих PC100/PC133 SDRAM
    • Максимальный объем поддерживаемой памяти — 512Мбайт
    • ECC не поддерживается
  • AGP
    • Слот AGP с поддержкой режима 4x
  • Слоты расширения
    • 6 32-битных слотов PCI 2.2
    • 1 слот CNR (Communication and Networking Riser)
  • Порты ввода-вывода
    • Один порт для FDD, два последовательных и один параллельный порты, порты для PS/2 мыши и клавиатуры
    • Два встроенных порта USB и два дополнительных порта USB
  • Интегрированный IDE контроллер
    • 2 канала IDE, поддерживающие протоколы ATA/33/66/100 (с поддержкой до 4 ATAPI-устройств)
  • BIOS
    • 4-х мегабитный Flash EEPROM
    • Award BIOS с поддержкой Enhanced ACPI, DMI, Green, PnP Features и Trend Chip Away Virus
  • Разное
    • STR (Suspend to RAM)
    • Поддержка ASUS iPanel
    • Аппаратный мониторинг
    • Пробуждение от модема, мыши, клавиатуры, сети, таймера и USB
  • Размер
    • ATX форм-фактор, 30,5x20,8 см

Под столь многообещающую плату ASUS разработал коробку приятного зеленого цвета с гордой надписью "CUSL2-C Motherboard", хотя обычно коробки у ASUS безымянные и узнать о том, какая плата в коробке, можно лишь по маленькому белому стикеру. Уже одно это позволяет судить о том, какие высокие ставки у ASUS на эту плату. В комплект входит набор кабелей, состоящий из FDD шлейфа, 40-жильного IDE шлейфа, 80-жильного UltraDMA66/100 шлейфа и заглушки со вторым COM-портом. Также на заглушке смонтированы два дополнительных USB-порта, устанавливаемые в заднюю стенку корпуса. Компакт диск содержит драйвера, утилиту мониторинга ASUS PC Probe, антивирусную программу Trend PC-cillin, Cyberlink PowerPlayer SE, Video Live Mail Retail и PowerDVD Trial. Досадно, что отличающийся щепетильностью в таких вещах ASUS на этот раз спешил с выпуском платы так, что не удосужился качественно переработать руководство пользователя, содержащее множество оставшихся без изменений со времен GMCH упоминаний о встроенном видео. Да, для любителей облеплять холодильник переводными картинками, конечно же, наклейка с пегасом — "Powered by ASUS".

Плата

Поскольку плата ASUS CUSL2 уже рассматривалась на нашем сайте, то от повторения пройденного, пожалуй, стоит отказаться — ограничимся лишь рассмотрением основных отличий CUSL2-C, хотя их не так уж много.

Разговор о всеобщей унификации в начале обзора совершенно не случаен — плата CUSL2-C выполнена совершенно на той же PCB, что и CUSL2, при этом в лучших "спартанских" традициях лишена всего, что изначально подразумевалось в качестве опций при проектировании платы.

Вглядимся поподробнее. Сначала — отличия от CUSL2. Вместо AGP Pro слота установлен самый обычный AGP — да и в самом деле, видеочипы постепенно переводятся на все более тонкий технологический процесс, и видеокарты становятся не столь прожорливыми, как раньше, что позволит прекрасно обходиться слотом AGP без Pro.

Убрали второй CNR, тоненький слот половинной ширины, который разделялся с таким же тоненьким шестым PCI, контакты которого, в силу особенностей конструкции, более восприимчивы к механическим воздействиям; не стоит часто вставлять/вынимать карты из этого слота. Ну, убрали и убрали, почти никто и первым-то не пользуется, а о втором так и подавно жалеть не стоит. Пропал и VGA разъем встроенного видео, но особенности проектирования не позволили водрузить второй COM-порт на его законное место — он так и остался на переднем краю платы — поближе к контроллеру и подальше от чаяний пользователей, предпочитающих вообще не использовать этот порт, чем тянуть шлейф через всю плату к задней стенке корпуса. И USB хабчик тоже убрали — и 4 портов за глаза хватит.

Еще интересней обстоят дела с базовой комплектацией платы — другие производители обычно поставляют такие минималистские варианты только для OEM партнеров. Итак, чего же мы лишены? Лишены практически бесплатного звука в составе AC'97 кодека, 3-х аудио-разъемов — Line-In, Line-Out и Microphone, а также разъема для подключения джойстика. Напомнило описание Geforce2 Ultra — "данной плате не нужен ТВ-выход, потому что она рассчитана на разрешения 1600 на 1200, а телевизор работает максимум 800 на 600". Также и здесь — покупателю CUSL2 или CUSL2-C не нужен дешевый звук, он все равно купит что-нибудь не хуже Live! или Vortex2. В общем, оно где-то и правильно — почти все именно так и поступают — поэтому и не едут в Россию платы семейства CUSL2 с аудио на борту. Заодно и вопросов, как будут уживаться встроенный звук и Live!, у рядовых покупателей не возникнет.

Кстати, второй интересный момент — CUSL2-C не работает с PPGA Celeron, представленными на рынке моделями от 366 до 500 МГц. Вот как комментирует ситуацию ASUS:

ASUS: "Среди продвинутых российских пользователей найдется совсем мало людей, которые захотят использовать данную плату с процессорами PPGA Celeron, поэтому мы просто отключили данную функцию в нашей материнской плате."

Чтобы понять, почему это произошло, оглянемся назад. У компании ASUS было две легендарные платы, выдающиеся качества которых признают даже те, кто ASUS недолюбливает. Это — уже многими позабытая P55T2P4 на Intel HX, и здравствующая и поныне P3B-F. Заменит ли CUSL2-C плату P3B-F?

ASUS: "Да, заменит. Но только в верхнем сегменте рынка — для FCPGA .18 микрон процессоров. А для среднего и низшего сегмента — решение на BX — CUBX-E (ATA100, 5USB), усовершенствованная версия платы CUBX, в которой и рекомендуется использовать PPGA Celeron."

Дополнительная, весьма действенная мера по сегментации рынка — вопросов больше нет.

Что касается стабильности работы, то здесь нареканий практически никаких. Да и не удивительно — в импульсных преобразователях напряжения применены 11 LowESR конденсаторов емкостью 1500uF, часть которых установлена вплотную к процессорному гнезду. Так что никакой ORB точно не влезет, а любителям разгона, да и просто хорошего охлаждения, придется поискать достойный кулер среди квадратных.

Кстати, с разгоном эталонного Coppermine 700 МГц не очень то заладилось — 135 * 7 = 945 без поднятия напряжения, и 136 * 7 = 952 МГц с поднятием на 0,1 В. Возможно, это вина конкретного экземпляра, и желающим приобрести плату можно надеяться на более высокие показатели.

Ну и конечно, плата CUSL2-C, также как и CUSL2, поддерживает такую замечательную штучку, как iPanel. Кстати, она уже появилась в нашей лаборатории, но это тема для другого обзора…

А теперь посмотрим, как обстоят дела с производительностью платы.

Производительность

При оценке производительности использовалось следующее оборудование:

  • Процессор: Intel Pentium III Coppermine 800 МГц, шина 133 МГц, Socket-370
  • Материнская плата: ASUS CUSL2-C на чипсете i815EP
  • Материнская плата: ASUS CUSL2 на чипсете i815E
  • Материнская плата: SOYO 7ISA на чипсете i815E
  • Материнская плата: EPoX EP-3S2A на чипсете i815E
  • Память: Samsung PC133 128Mb
  • Жесткий диск: IBM DTLA 20Gb 7200RPM
  • CD-ROM: Panasonic 40x speed
  • Видеокарта: ASUS V7700 Geforce2 GTS (Core:200MHz; Mem:166MHz DDR)

И программное обеспечение:

  • Windows ME final release build 3000
  • NVIDIA Detonator 2 v6.34
  • BapCo & Mad Onion SysMark 2000 Internet Content Creation v1.0 patch 4B
  • idSoftware Quake III Arena v1.17 demo001.dm3




Производительность платы находится на вполне достойном уровне, явно не ниже производительности CUSL2. Возможно, сказалось отсутствие встроенной графики, возможно, дело в BIOS'е, но с другой стороны, разрыв настолько невелик, что его можно списать на погрешность измерения.

Выводы

Итак, флагманская модель ASUS на чипсете от Intel сбросила ненужный балласт в лице встроенного видео и еще нескольких мелочей, серьезно похудела в цене — на 20-25 USD, и теперь готова вступить в бой за сердца покупателей — благо, все предпосылки для этого налицо. Встречайте ASUS CUSL2-C!

Плюсы:

  • новейший чипсет i815EP
  • традиционная стабильность
  • широкие возможности для разгона

Минусы:

  • отсутствие встроенного звука

P.S. Конечно, можно добавить к минусам то, что цена все еще велика, но именно сейчас, с платой CUSL2-C, ASUS близко к народу как никогда раньше.

Материнская плата ASUS CUSL2-C предоставлена компанией Юпитер
Материнские платы ASUS CUSL2 и EpoX EP-3S2A предоставлены компанией M4